The driver and passenger seats are operated with locking handles.
The locking handles must be in the locked position before the boat speed exceed 5 knots.

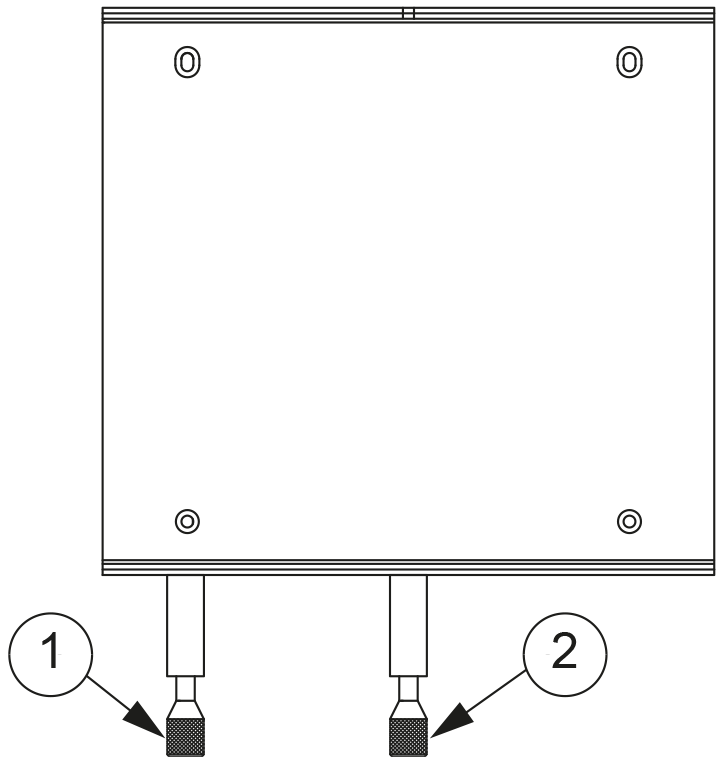
- (1)
-
Rotation locking handle
- (2)
-
Moving locking handle
-
For the rotating function, press the locking handle down to release the lock.
This allows you to rotate the seat on the post.
-
For the moving function, lift the locking handle up to release the lock.
This allows you to move seat from back to front.