Los asientos del timonel y del pasajero se manejan con asas de bloqueo.
Las asas de bloqueo deben estar bloqueadas antes de que la velocidad de la embarcación supere los 5 nudos.

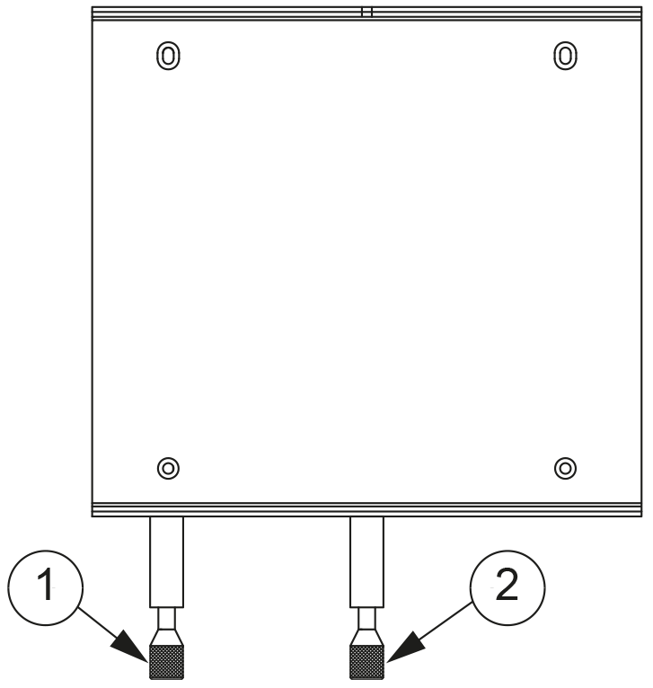
- (1)
-
Manija de bloqueo de rotación
- (2)
-
Manija de bloqueo móvil
-
Para la función de rotación, presione la palanca de bloqueo hacia abajo para liberarla.
Esto le permite rotar el asiento en el poste.
-
Para la función de movimiento, levante la palanca de bloqueo para liberarla.
Esto le permite mover el asiento de atrás hacia adelante.