Les sièges conducteur et passager sont actionnés à l’aide des poignées de verrouillage.
Les poignées de verrouillage doivent être en position verrouillée avant que la vitesse du bateau ne dépasse 5 nœuds.

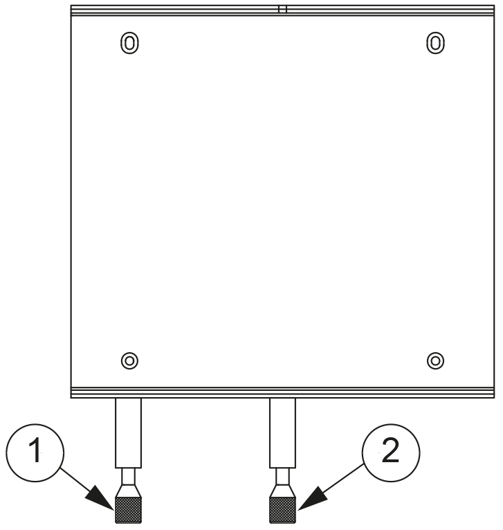
- (1)
-
Poignée rotative de verrouillage
- (2)
-
Poignée mobile de verrouillage
-
Pour la fonction rotative, poussez la poignée de verrouillage vers le bas pour déverrouiller le verrou.
Cela vous permet de faire pivoter le siège sur la tige.
-
Pour la fonction mobile, soulevez la poignée de verrouillage vers le haut pour déverrouiller le verrou.
Cela vous permet de déplacer le siège de l’arrière vers l’avant.