6.2 Siège pivotant - Sièges conducteur et passager

Les sièges conducteur et passager sont actionnés à l’aide des poignées de verrouillage.

Les poignées de verrouillage doivent être en position verrouillée avant que la vitesse du bateau ne dépasse 5 nœuds.

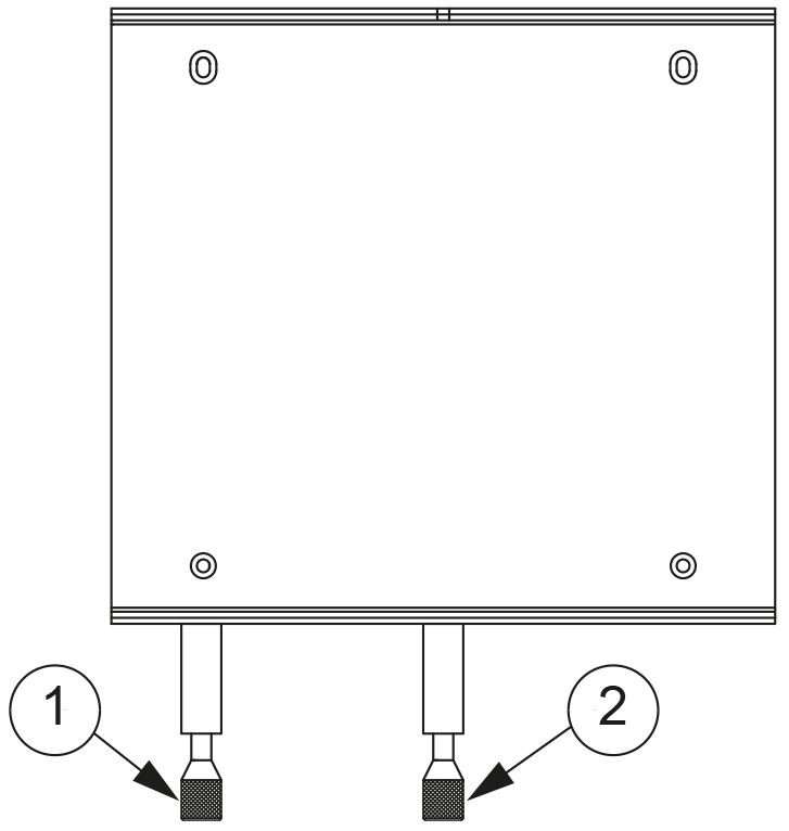
(1)

Poignée rotative de verrouillage

(2) 

Poignée mobile de verrouillage

  • Pour la fonction rotative, poussez la poignée de verrouillage vers le bas pour déverrouiller le verrou.

    Cela vous permet de faire pivoter le siège sur la tige.

  • Pour la fonction mobile, soulevez la poignée de verrouillage vers le haut pour déverrouiller le verrou.

    Cela vous permet de déplacer le siège de l’arrière vers l’avant.